霍爾電流傳感器--開環霍爾方案
2020/7/24 12:01:46 點擊:
電流檢測是 BMS 必備的一個功能,在《GB/T 38661_2020 電動汽車用電池管理系統技術條件》中,對其有著清晰的要求。
霍爾電流傳感器方案
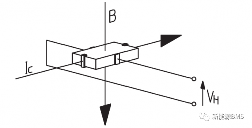
首先需要了解下霍爾效應概念:當小電流 Ic 垂直于外磁場通過半導體時,載流子發生偏轉,垂直于電流 Ic 和磁場 B 的方向會產生一附加電場,從而在半導體的兩端產生電勢差 VH,這一現象就是霍爾效應,這個電勢差 VH 也被稱為霍爾電壓。(圖片來自 LEM 官網)

網上原理解釋:在半導體上外加與電流方向垂直的磁場,會使得半導體中的電子與空穴受到不同方向的洛倫茲力而在不同方向上聚集,在聚集起來的電子與空穴之間會產生電場,電場力與洛倫茲力產生平衡之后,不再聚集,此時電場將會使后來的電子和空穴受到電場力的作用而平衡掉磁場對其產生的洛倫茲力,使得后來的電子和空穴能順利通過不會偏移,這個現象稱為霍爾效應。(圖片來源于網絡)

進一步地,怎么利用霍爾效應來測量電流呢?
因為霍爾電壓與磁場強度以及半導體中通過的小電流成正比,如果我們提供一個恒定的小電流通過半導體,那么霍爾電壓只與磁場強度成正比了,二者可以建立一定的函數關系式。
接著,如果讓母線中待測的大電流產生的磁場施加到上面的半導體周圍(磁場與半導體內部的電流垂直),那么就在霍爾電壓與待測大電流之間產生了一定的函數關系,就可以利用霍爾電壓來表示待測電流了。
上面講的有點繞,建議多讀幾次哦。
常見的霍爾效應電流傳感器包括了開環與閉環兩種,好像還有一個叫 Eta 霍爾電流傳感器技術,但是不太常見。
開環霍爾電流傳感器
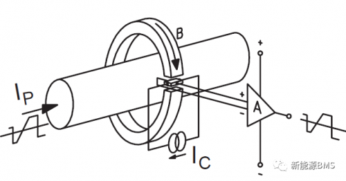
基本的構造如下圖(來源于網絡),導線中通過待測電流 Ip,Ip 對應產生一個磁場;這個磁場被集中在磁芯中,磁芯一側存在一個氣隙,氣隙中放置了一個半導體霍爾元件,它用來感應氣隙處的磁場強度。

繼續分析,在半導體霍爾元件中通過一個恒定的小電流 Ic,這樣根據霍爾效應,在半導體的兩端就會產生一個霍爾電壓,它經過放大調理等輸出到外部,就可以計算出 Ip 的大小了。(圖片來自 LEM 官網)

概括來講,開環霍爾電流傳感器優點是低成本、尺寸與重量小,功耗也比較低;缺點是精度稍差,零點偏移大一些;實際看一下產品,感受一下其參數。(下圖來源于 LEM 官網)

霍爾電流傳感器方案
首先需要了解下霍爾效應概念:當小電流 Ic 垂直于外磁場通過半導體時,載流子發生偏轉,垂直于電流 Ic 和磁場 B 的方向會產生一附加電場,從而在半導體的兩端產生電勢差 VH,這一現象就是霍爾效應,這個電勢差 VH 也被稱為霍爾電壓。(圖片來自 LEM 官網)

網上原理解釋:在半導體上外加與電流方向垂直的磁場,會使得半導體中的電子與空穴受到不同方向的洛倫茲力而在不同方向上聚集,在聚集起來的電子與空穴之間會產生電場,電場力與洛倫茲力產生平衡之后,不再聚集,此時電場將會使后來的電子和空穴受到電場力的作用而平衡掉磁場對其產生的洛倫茲力,使得后來的電子和空穴能順利通過不會偏移,這個現象稱為霍爾效應。(圖片來源于網絡)

進一步地,怎么利用霍爾效應來測量電流呢?
因為霍爾電壓與磁場強度以及半導體中通過的小電流成正比,如果我們提供一個恒定的小電流通過半導體,那么霍爾電壓只與磁場強度成正比了,二者可以建立一定的函數關系式。
接著,如果讓母線中待測的大電流產生的磁場施加到上面的半導體周圍(磁場與半導體內部的電流垂直),那么就在霍爾電壓與待測大電流之間產生了一定的函數關系,就可以利用霍爾電壓來表示待測電流了。
上面講的有點繞,建議多讀幾次哦。
常見的霍爾效應電流傳感器包括了開環與閉環兩種,好像還有一個叫 Eta 霍爾電流傳感器技術,但是不太常見。
開環霍爾電流傳感器
基本的構造如下圖(來源于網絡),導線中通過待測電流 Ip,Ip 對應產生一個磁場;這個磁場被集中在磁芯中,磁芯一側存在一個氣隙,氣隙中放置了一個半導體霍爾元件,它用來感應氣隙處的磁場強度。

繼續分析,在半導體霍爾元件中通過一個恒定的小電流 Ic,這樣根據霍爾效應,在半導體的兩端就會產生一個霍爾電壓,它經過放大調理等輸出到外部,就可以計算出 Ip 的大小了。(圖片來自 LEM 官網)

概括來講,開環霍爾電流傳感器優點是低成本、尺寸與重量小,功耗也比較低;缺點是精度稍差,零點偏移大一些;實際看一下產品,感受一下其參數。(下圖來源于 LEM 官網)

- 上一篇:簡單介紹無刷直流電機控制的應用 2020/7/24
- 下一篇:ESD保護器件分類「TVS、壓敏電阻、MLCC、ESD抑制器 2020/7/24

