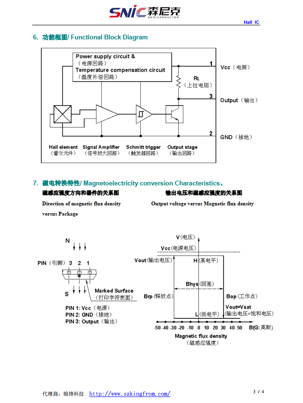
產品介紹
SNK-732國產替代EW-732 高感度 鎖定型 霍爾開關元件




我司是森尼克正式授權代理商,可以提供技術支持,需要技術資料可以向我司業務人員索取(13923795851孫生-微信同號);
更多產品
SNK-732國產替代EW-732 高感度 鎖定型 霍爾開關元件




我司是森尼克正式授權代理商,可以提供技術支持,需要技術資料可以向我司業務人員索取(13923795851孫生-微信同號);